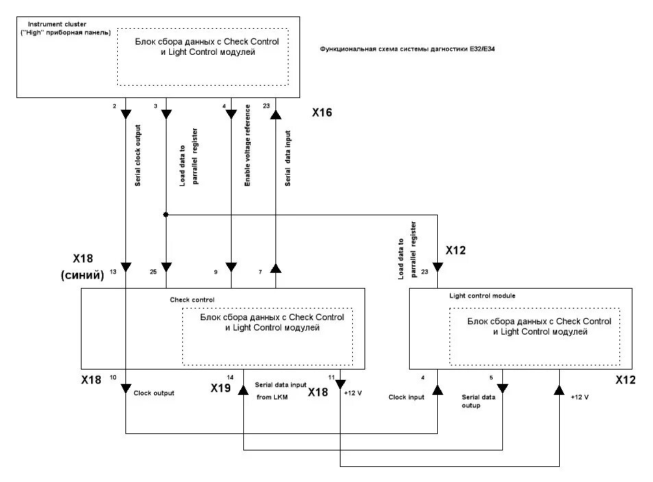
Блок сбора информации