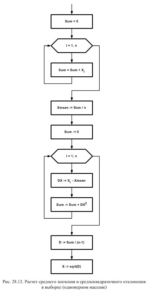
Алгоритм вычисления среднего арифметического элементов массива