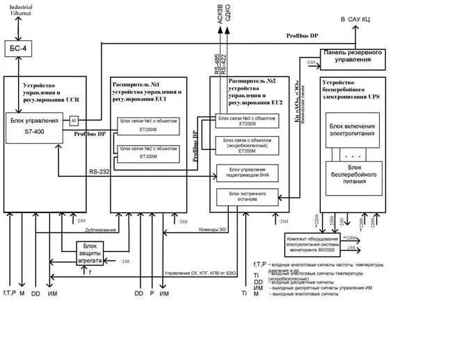
Алгоритм системы автоматического управления